相比传统制动系统,线控制动系统具备稳定、高效、节能等优势。线控制动系统支撑智能驾驶功能的实现,国内汽车智能化大势下,线控制动系统渗透率可观。线控制动系统能靠控制电机实现制动助力,还能高效回收制动能量,让电动汽车续航里程增加,并且能快速又精准地执行智能驾驶相关指令。根据数据,2024年H1我国线控制动系统市占率TOP10供应商中,国内供应商占据半壁江山,市占率合计32.57%,,博世虽仍保持领先地位,但市场份额已降至53.68%。
罗伯特·博世有限公司公开的“用于运行转向系统的方法”专利(CN115298082A申请号:202180026428.1),通过修改目标预设信号,使其在车轮转向角调整器的最大调整范围边缘保持连续且可微的走势,从而显著提升了转向系统的平顺性和稳定性。
1.技术痛点:车辆转向系统需要在极限位置保证转向的稳定性和响应性
车辆转向系统技术领域,在接近最大转向角时,传统的转向系统在达到最大转向角时,信号可能会突然饱和,导致转向过程中的冲击和不平顺,转向信号的突变和抖动,这会导致驾驶体验不佳和潜在的安全隐患。
2.技术手段:视觉感知需要多种光源和光学元件的配合生成
该专利涉及一种具有在功能方式方面得到改善的特性的、用于运行转向系统的方法,尤其在饱和状态的范围中如此修改目标预设信号,使得该尤其经修改的目标预设信号至少在尤其最大车轮转向角调整范围的边缘范围中具有连续的且可微的走势。
该专利通过修改目标预设信号,使其在最大车轮转向角调整范围的边缘范围内具有连续且可微的走势,从而提高了转向系统的稳定性和响应性,减少了转向过程中的冲击和不平顺。这种改进使得转向系统在接近极限位置时能够更平滑地过渡,避免了传统方法中可能出现的突变和抖动,提升了驾驶体验和安全性。目标预设信号的修改以确保其在最大车轮转向角调整范围的边缘范围内连续且可微。
1) 通过饱和状态将目标预设信号限定到最大车轮转向角调整范围内。
2) 使用控制器来执行上述信号修改方法,确保转向系统的实时响应和稳定性。
3.技术实施情况
目标预设信号的修改:
· 创新点:通过修改目标预设信号,确保其在最大车轮转向角调整范围的边缘范围内具有连续且可微的走势。
· 优势:有助于提高转向系统的平滑性和稳定性,减少因信号突变引起的车辆抖动或不舒适感。
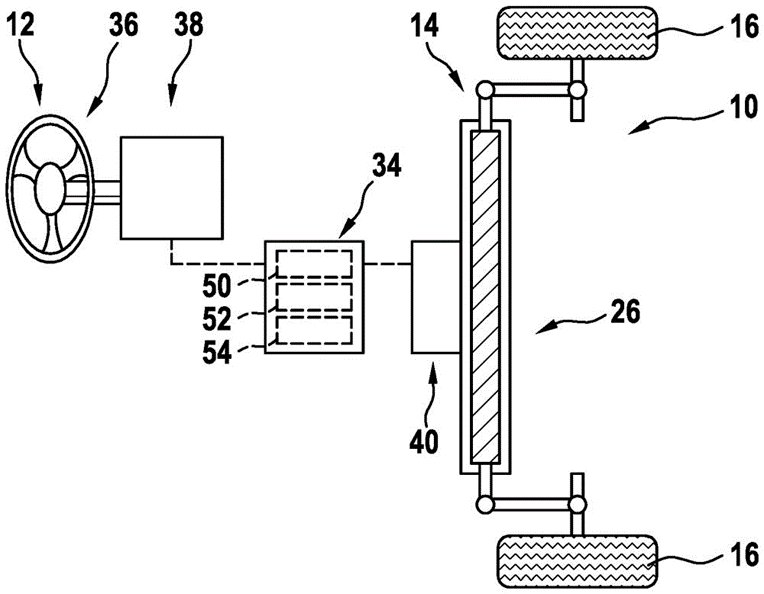
· 具体方案:根据转向输入元件12处的转向预设和转向系统10的尤其预先给定的和/或能调整的总转向传动比来求取目标预设信号18,并且随后将其供应给限定单元54的第一限定元件30,以便将目标预设信号18限定到与最大车轮转向角调整范围20的最大值相关的边界值上。转向预设原则上也能够直接由控制器34、车辆中的另一控制器和/或特殊的功能来提供。此后,为了进行修改而将尤其可能经限定的目标预设信号18供应给限定单元54的具有可动态地适配的边界频率的滤波器24。滤波器24在当前情况下构造为PT2-滤波器。最后,能够将该尤其可能够经限定和/或经修改的目标预设信号18供应给限定单元54的第二限定元件32,以便再次限定目标预设信号18并且提高运行安全性。然而,原则上也能够放弃第二限定元件。将由此所产生的且基于目标预设信号18的经修改的目标预设信号19作为新的目标预设信号供应给调节器单元52,该调节器单元设置用于,根据经修改的目标预设信号19来操控转向执行器40并且调节经修改的目标预设信号19。在当前情况下,第一限定元件30因此在电路技术方面布置在滤波器24之前,并且第二限定元件32在电路技术方面布置在滤波器24之后。
为了修改目标预设信号18而因此使用滤波器24,其中根据转向调整元件26的目标位置来动态地适配滤波器24的边界频率,求取最大车轮转向角调整范围20的对应的最大值28、29与转向调整元件26的目标位置之间的差值,由此能够确定转向调整元件26的相对于对应的端部止挡的间距。此外,有利地使用特性曲线,特性曲线的输出能够再次附加地借助于至少一个另外的滤波器、例如具有恒定的边界频率的滤波器和/或低通滤波器来进行滤波。在当前情况下,因此通过特性曲线并且基于最大车轮转向角调整范围20的最大值28、29与转向调整元件26的目标位置之间的差值来实现对边界频率的选择。如此设定边界频率,使得仅在最大车轮转向角调整范围20的边缘范围中、即尤其在差值等于零之前不远的范围中实现对目标预设信号18的主要的修改。边缘范围对应于最大车轮转向角调整范围20的部分范围,该部分范围包括整个车轮转向角调整范围20的最多5%。在动态地适配边界频率时能够考虑到转向调整元件26的运动方向。由此能够例如区分,是否转向进入到限定和/或饱和状态中或者是否从限定或者饱和状态中转向出来。在当前情况下,不仅在转向进入到限定和/或饱和状态中时而且也在从限定和/或饱和状态中转向出来时实现对目标预设信号18的修改。在转向进入到限定和/或饱和状态中时仅在最大车轮转向角调整范围20的边缘范围中修改目标预设信号18,并且在从限定和/或饱和状态中转向出来时在最大车轮转向角调整范围20的与最大车轮转向角调整范围20的边缘范围相比得到扩大的部分范围中修改该目标预设信号。有利地,特性曲线的输出为此能够借助于两个不同的另外的、尤其具有不同的恒定的边界频率的滤波器来进行滤波。然而,原则上也能够仅在转向进入到限定和/或饱和状态中时或者在从限定和/或饱和状态中转向出来时实现对目标预设信号的修改。

饱和状态的应用:
· 创新点:借助于饱和状态将目标预设信号限定到最大车轮转向角调整范围内,防止车轮转向角超出安全范围,从而保证车辆的安全性和可控性。
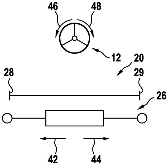
· 具体方案:转向进入到限定和/或饱和状态中并且随后从限定和/或饱和状态中转向出来。在图中示出了最大车轮转向角调整范围20的边缘范围,其中,最大车轮转向角调整范围20的最大值28、29示例性地为近似79.5mm。在当前情况下,再次以详细示图示出了来自上方的信号。在此,纵坐标轴56构造为物理量轴,而在横坐标轴58上示出了时间。曲线60示出了所提供的目标预设信号18的尤其在没有限定和没有修改的情况下的在时间上的走势。曲线62示出了假设的目标预设信号的具有尤其通过第一限定元件30的限定并且在没有修改的情况下的在时间上的走势,其中,由于限定而在信号走势中出现不连续性或者说弯折部。曲线64示出了经修改的目标预设信号19的在时间上的走势。曲线66示出了与假设的目标预设信号相关的速度信号。曲线68示出了与经修改的目标预设信号19相关的另外的速度信号。曲线70示出了与假设的目标预设信号相关的加速度信号。曲线72示出了与经修改的目标预设信号19相关的另外的加速度信号。尤其在这方面明显示出了,借助于饱和状态将目标预设信号18限定到最大车轮转向角调整范围20上,并且尤其在饱和状态的范围中且借助于用于运行转向系统10的前面所描述的方法来如此修改该目标预设信号,使得经修改的目标预设信号19在车轮转向角调整范围20的边缘范围中具有连续的且可微的走势,由此能够有利地阻止声学问题。


车轮转向角调整器:
· 创新点:车轮转向角调整器根据修改后的目标预设信号来改变车辆车轮的转向角,确保转向操作在安全范围内进行,并提供更平稳的驾驶体验。
· 具体方案:车轮转向角调整器14设置用于,根据转向预设来改变车辆车轮16的车轮转向角。为此,车轮转向角调整器14具有例如通过两个机械的端部止挡(未被示出)所限定的最大车轮转向角调整范围20(尤其参见图2)。最大车轮转向角调整范围20规定和/或限定了车辆车轮16的最大偏移和/或运动、尤其转动运动。在当前情况下,最大车轮转向角调整范围20在此示例性地规定和/或限定了转向调整元件26的最大偏移和/或运动、尤其平移运动。车轮转向角调整范围20包括第一最大值28和第二最大值29,该第一最大值在当前情况下规定和/或限定了转向调整元件26的沿着第一方向42的最大偏移和/或运动,该第二最大值在当前情况下规定和/或限定了转向调整元件26的沿着尤其与第一方向42相反设置的第二方向44的最大偏移和/或运动。此外,转向输入元件12的沿着第一转向方向46的偏移和/或运动引起了转向调整元件26的沿着第一方向42的偏移和/或运动,并且转向输入元件12的沿着尤其与第一转向方向46相反设置的第二转向方向48的偏移和/或运动引起了转向调整元件26的沿着第二方向44的偏移和/或运动。

小结:
该专利属于车辆转向系统技术领域,具体涉及目标预设信号的连续且可微的走势;饱和状态对目标预设信号的限定;最大车轮转向角调整范围;车轮转向角调整器的设置和功能;信号修改方法以确保连续性和可微性。
4.发展趋势
· 自适应控制算法:开发更先进的自适应控制算法,使转向系统能够根据车辆状态和道路条件动态调整转向参数,进一步提高系统的鲁棒性和响应速度。
· 传感器融合:结合多种传感器(如摄像头、雷达、激光雷达等)的数据,提供更全面的环境感知能力,从而优化转向决策,提升整体性能。
· 人工智能与机器学习:利用人工智能和机器学习技术,对大量驾驶数据进行分析,不断优化转向系统的控制逻辑,实现更智能、更个性化的转向控制。
· 冗余设计:引入更多的冗余设计,确保在单个组件失效的情况下,转向系统仍能正常工作,提高系统的可靠性和安全性。
这些创新方向有望在未来显著提升车辆转向系统的性能,满足日益增长的自动驾驶需求,并为驾驶员提供更加安全、舒适的驾驶体验。
5.结语
随着自动驾驶技术的发展,对转向系统的精度和稳定性要求越来越高。未来的转向系统将更加智能化,能够根据不同的驾驶场景自动调整转向策略,提高驾驶安全性和舒适性。预计未来几年内,随着AI算法及大数据处理能力的不断增强,转向系统将能够更好地配合其他车载感知设备工作,为实现L4/L5级别的全自动驾驶奠定基础;未来的转向解决方案可能会朝着模块化、高度集成化的方向发展,减少物理连接的同时提高整体性能。面对日益严峻的环保压力,开发出更加节能高效的新型材料和技术将是必然选择,这不仅有助于降低整车重量从而间接节省能源消耗,还能直接减少生产过程中的碳排放量。可以预见的是,未来的转向装置将会融入更多人性化的设计元素,例如触控式操作面板、语音识别等功能,使得用户能够更加便捷地进行个性化配置。